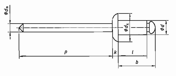
DIN EN ISO 15977

Open end blind rivets with break pull mandrel and protruding head - AIA/St
Replace DIN 7337:1985-05,1985-07,1991-08,DIN EN ISO 15977:2003-04
Relevant suppliers

Tell me what you see in "Golden Spider" and will give you a discount

None
None
Country/Region:None Tel: None
经营许可证编号:粤B2-20210752号丨备案号:粤ICP备09029740号
粤公网安备 44011102001662号
技术支持:广东金蜘蛛电脑网络有限公司
Golden Spider Network Co., Ltd.